接案工作

 
新北市
Contractor 工作
輸入關鍵字找案件
新北市

"Contractor 工作" 相關案件

- 共22

3D建模

電話
湯〇姐
地區新北市 板橋區
金額客戶預算:五千元以下
其他軟體或執行限制:無
2小時前
Contractor 工作
3d建模接案
接案 3d
1. 3D建模   2. 工業/產品設計   3. 有,我有2D圖檔(平面)   4. 通用檔案格式   5. 單項產品  
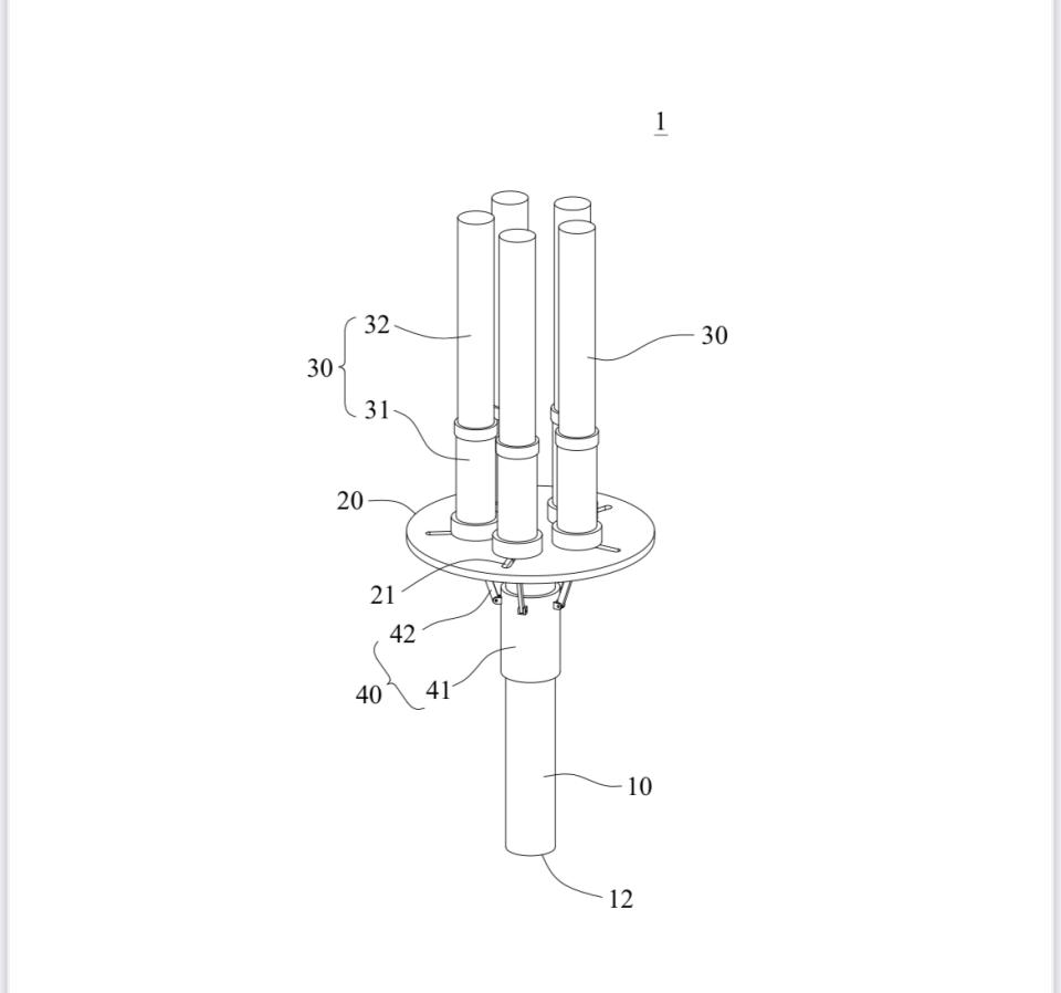
描述: 1. 多手燈手持支架 長寬高各在15-45公分內  

FB粉專小編

電話
張〇蓉
地區新北市 板橋區
其他貼文數量:10-30則
2025/10/16
Contractor 工作
fb 接案
寫稿兼職
1. 零售業   2. 專家負責文案,客戶提供所有完整置入素材   3. 沒有   4. 新北市,板橋區  
描述: 1. 韓國服裝  

網拍服飾攝影

電話
郭〇萱
地區新北市 板橋區
時間需求日期:越快越好
金額客戶預算:經濟價格 $(一小時1,500元以下)
2025/10/16
Contractor 工作
攝影家
影片接案
1. 攝影棚拍攝   2. 成人服飾、配件   3. 5套以下   4. 兩小時內   5. 請攝影師協助找模特兒  

廣告影片製作

電話
邱〇寓
地區新北市 板橋區
金額製作預算:詳談後再報價
2025/10/15
Contractor 工作
Youtube工作
導演工作
1. 其他   2. 3-5分鐘   3. 需要專家的建議   4. 越快越好   5. 沒有  
描述: 1. 社區服務  

CNC加工

電話
ellxxx
地區新北市 板橋區
其他服務類型:零組件打樣
2025/10/14
Contractor 工作
CNC 工作
工業設計接案
1. 零件尺寸約為   2. 有,我有自備2D圖檔   3. 時間可討論   4. 沒有   5. 新北市,板橋區  
描述: 1. 190x335cm   2. https://d24o4k0vdyt0z8.cloudfront.net/quote.user.uploads/20251014/4f2f439d5aecfab76ce32f3d98f7054a6c1602d9ad7371f45bb663cfe760f3feb825f4e8a6f13a49d1b3ec4adfe0e11724af59d3a7829de8296b7e67f82da972.pdf  

PCB Layout

林〇倫
地區新北市 板橋區
時間需求日期:越快越好
2025/10/14
Contractor 工作
Layout 工程師
電子科系工作
1. PCB設計   2. 沒有   3. 我不清楚,需與專家討論   4. 沒有   5. 新北市,板橋區  

食物攝影

電話
Weixxx
地區新北市 板橋區
時間交件類型:一般件
金額客戶預算:經濟價格 $(一小時1,500元以下)
2025/10/14
Contractor 工作
攝影家
影片接案
1. 6-10道菜   2. 6-10張   3. 去背照和情境照都要   4. 四小時內   5. 請攝影師提供道具  
描述: 1. 拍攝商品為冷滷 解凍後就可以拍攝 希望專家可以自備美食相關的拍攝道具 以及拍攝場地 還有拍攝方需要幫忙產品擺設及相關食品的周邊配料 配料例如可能有辣椒 蔥 蒜之類的 配料沒有一定要自己切自己弄 有配料假道具也可以 只要看起來逼真就好 配料擺設不需要太複雜 只要整體看起來好看就好 會附上大概需要拍攝的樣品參考圖片  

寫作服務

電話
地區新北市 板橋區
時間指定交件日期:有: 2025/1025
2025/10/13
Contractor 工作
寫手接案
部落客接案
1. 其他   2. 中文   3. 1000-2000字   4. 提供部分素材,其餘請專家製作   5. 沒有  
描述: 1. 農業port   2. 永續農業Pitt   3. 2025/1025  

簡報設計

電話
Jasxxx
地區新北市 板橋區
金額客戶預算:新手價格(每頁300元以下)
2025/10/10
Contractor 工作
ppt 接案
平面設計接案
1. 5-10頁   2. 其他   3. 3天內   4. 有   5. 新北市,板橋區  
描述: 1. 課堂報告用   2. 簡單的介紹一家企業   3. 我這邊可以提供資料  

地政士/代書

電話
黃〇瑜
地區新北市 板橋區
其他服務類型:其他: 二親等親屬房屋買賣
2025/10/9
Contractor 工作
地政士兼職
顧問
1. 沒有   2. 新北市,板橋區  
描述: 1. 二親等親屬房屋買賣   2. 母親繼承房屋後要賣給女兒,請代書先試算土增稅及其他稅負,能提供最佳的節稅規劃